Industria telefoanelor pliabile continuă să experimenteze noi forme și mecanisme, iar competiția pentru dispozitive tot mai versatile devine din ce în ce mai intensă. În acest context, compania chineză Honor a depus recent un brevet pentru un smartphone capabil să se plieze de patru ori, o arhitectură complexă inspirată de principiile origami.
Documentația descrie un dispozitiv cu mai multe puncte de pliere pe același ecran flexibil, o abordare care, cel puțin la nivel teoretic, ar putea transforma un telefon compact într-un ecran de dimensiuni apropiate de cele ale unui laptop mic.
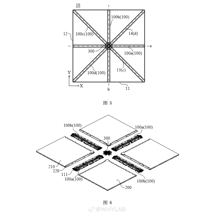
Telefoanele pliabile actuale folosesc, în mod obișnuit, o singură balama, transformând un smartphone într-un dispozitiv de tip tabletă atunci când este deschis. Următorul pas a fost deja făcut de unele companii, prin modele cu trei segmente de ecran.
În brevetul publicat de Honor, designul merge însă mai departe, propunând un sistem cu patru plieri. Practic, dispozitivul ar avea mai multe segmente de ecran unite prin balamale, iar fiecare dintre acestea ar trebui să se alinieze perfect în momentul deschiderii sau închiderii.
:format(webp):quality(100)/https://www.go4it.ro/wp-content/uploads/2026/03/Honor-Just-Patented-a-Phone-That-Folds-Four-Times.-Like-Origami.jpg)
Din punct de vedere tehnic, provocările sunt considerabile. Ecranul flexibil ar trebui să suporte mai multe zone de îndoire fără a dezvolta cute vizibile sau deteriorări în timp, iar mecanismul de balamale ar necesita o precizie extrem de ridicată pentru a funcționa corect.
Chiar dacă ideea pare spectaculoasă, este important de menționat că majoritatea brevetelor din industrie nu ajung niciodată să fie transformate în produse comerciale. Companiile depun frecvent astfel de documente pentru a proteja concepte tehnice sau direcții de cercetare, iar unele dintre acestea rămân doar la stadiul experimental.
Prin publicarea acestui brevet, Honor confirmă însă că explorează arhitecturi de ecrane pliabile mai complexe și își înregistrează oficial ideile în domeniul dispozitivelor cu plieri multiple.
Interesul pentru dispozitive cu mai multe plieri nu este întâmplător. Industria smartphone-urilor caută modalități prin care să ofere ecrane tot mai mari fără a sacrifica portabilitatea.
Recent, Huawei a lansat deja un dispozitiv cu trei segmente de ecran, demonstrând că mecanismele de pliere multiple pot ajunge pe piață, chiar dacă sunt încă rare și costisitoare.
În acest context, brevetul depus de Honor pare să facă parte dintr-o evoluție naturală a segmentului, în care producătorii încearcă să depășească limitele actuale ale designului pliabil.
Teoretic, un telefon cu patru plieri ar putea oferi un ecran apropiat de dimensiunea unui laptop compact, dar într-un dispozitiv care încape într-un buzunar de geacă. Ideea este atractivă, însă rămân numeroase obstacole: durabilitatea ecranului, complexitatea mecanismului de pliere și, nu în ultimul rând, costul unui asemenea produs.
Deocamdată, brevetul reprezintă mai degrabă un indiciu despre direcția în care ar putea evolua tehnologia. Dacă aceste concepte vor ajunge sau nu pe piață rămâne de văzut, însă este clar că producătorii explorează deja generația următoare de telefoane pliabile.
:format(webp):quality(100)/https://www.go4it.ro/wp-content/uploads/2026/03/Honor-Just-Patented-a-Phone-That-Folds-Four-Times.-Like-Origami-1.jpg)