Home
Știri și articole
Telefoane mobile
Laptopuri
Muzica si Filme
Social media
Jocuri
Poza
4
/ 4
Înapoi la articol
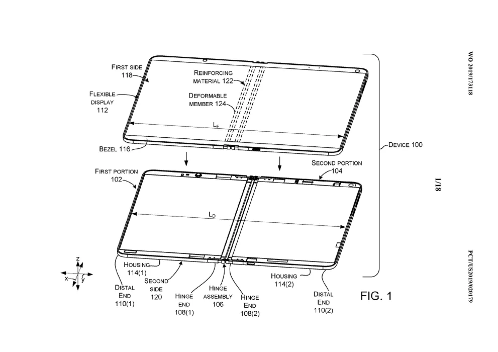
Microsoft pare că a găsit soluţia pentru ecrane pliabile care nu se strică. Următoarea tabletă Surface ar putea fi beneficiar
Share:
Inchide
Home
Știri și articole
Telefoane mobile
Laptopuri
Muzica si Filme
Social media
Jocuri
Politica de confidentialitate
Politica de cookies
Termeni si conditii
Contact
Cautare
Introdu cuvântul căutat și apasă ENTER