Home
Știri și articole
Telefoane mobile
Laptopuri
Muzica si Filme
Social media
Jocuri
Poza
1
/ 1
Înapoi la articol
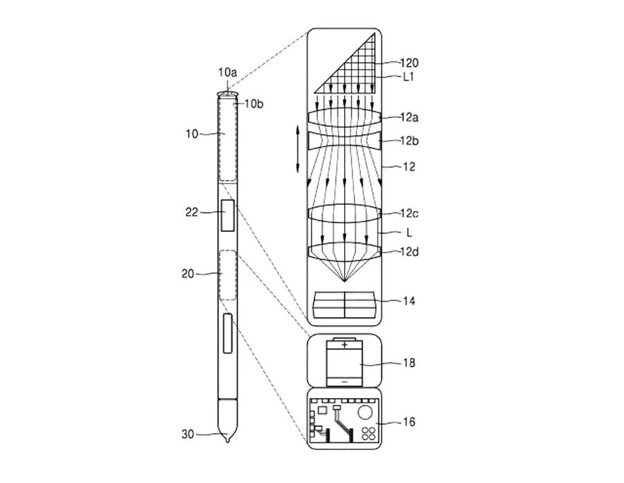
Samsung ar putea avea ingredientul secret pentru un smartphone cu design all-screen fără cameră frontală incomodă
Share:
Inchide
Home
Știri și articole
Telefoane mobile
Laptopuri
Muzica si Filme
Social media
Jocuri
Politica de confidentialitate
Politica de cookies
Termeni si conditii
Contact
Cautare
Introdu cuvântul căutat și apasă ENTER