Home
Știri și articole
Telefoane mobile
Laptopuri
Muzica si Filme
Social media
Jocuri
Poza
1
/ 1
Înapoi la articol
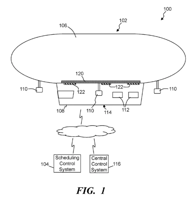
Un mare retailer vrea să livreze coletele clienţilor cu drone lansate din dirijabile
Share:
Inchide
Home
Știri și articole
Telefoane mobile
Laptopuri
Muzica si Filme
Social media
Jocuri
Politica de confidentialitate
Politica de cookies
Termeni si conditii
Contact
Cautare
Introdu cuvântul căutat și apasă ENTER